| АНАЛИТИКА ГОРНОЙ ПРОМЫШЛЕННОСТИ » Научные статьи » Конструкция и опыт эксплуатации новых типов гидродобычных установок для разработки обводнённых залежей песчано-гравийных смесей |
Конструкция и опыт эксплуатации новых типов гидродобычных установок для разработки обводнённых залежей песчано-гравийных смесей
Потребность в песке, гравии и щебне для строительных работ постоянно растёт. Поэтому значительные площади сельскохозяйственных, лесных и других угодий уже отчуждены и отчуждаются под карьеры для добычи песчано-гравийных смесей (ПГС). Большая часть таких месторождений находится ниже уровня подземных вод и не может быть отработана обычной сухоройной техникой. Отработка таких запасов обычно осуществляется землесосными снарядами, которые из-за ограниченной по техническим возможностям грунтовых насосов высоты всасывания (8?10 м) не обеспечивают полной отработки всех запасов и даже в случае использования погружных грунтовых насосов, глубина отработки не превышает 15?20 м. Однако, из-за сложности дополнительного оборудования стоимость таких земснарядов очень высока и они используются в основном для дноуглубительных работ в фарватерах крупных рек. Большим недостатком землесосных снарядов с грунтовыми насосами также являются большие затраты времени на ремонт и профилактическое обслуживание, связанное с износом и необходимостью замены рабочих колёс, бронедисков и других быстро изнашиваемых деталей.
Основываясь на многолетнем опыте создания новой техники для разработки глубокозалегающих месторождений твёрдых полезных ископаемых способом СГД для разработки обводнённых месторождений сотрудниками НПЦ «Геотехнология» были разработаны мощные гидроэлеваторы, позволяющие поднимать с большой глубины валунно-галечный материал с размерами в поперечнике до 150 мм. Есть конструкторская документация на гидроэлеватор для подъема гравия размером до 250 мм.
Гидроэлеваторы – насосы прямого действия характеризуются простотой оборудования, отсутствием вращающихся и двигающихся частей в связи с чем происходит резкое сокращение времени простоев на ремонт и профилактическое обслуживание. Также отпадает необходимость в постоянном использовании вспомогательных средств – плавучих подъёмных кранов большой грузоподъёмности и т. п
Единственным быстроизнашивающимся узлом при гидроэлеваторном способе подъёма горной массы (пульпы) являются детали камеры смешения, которые футеруются специальными материалами и имеют относительно небольшие размеры и легко заменяется без разборки снаряда в течение короткого времени.
Разработанные в НПЦ «Геотехнология» гидродобычные установка УГБ за счёт замены землесоса с массой 9–12 т на гидроэлеватор с водяным насосом массой 1–4 т при отсутствия рамы рыхлителя и свайных опор при одинаковой производительности 150?200 м3/час по твердому, значительно менее металлоемки и могут быть смонтированы на сравнительно небольших понтонах катамаранного или П-образного расположения, применяемых на известных малогабаритных земснарядах, изготавливаемых отечественными заводами гидрооборудования (Московским, Саратовским, Рыбинским, Цимлянским, Миасским и др.).
К настоящему времени в НПЦ «Геотехнология» освоено мелкосерийное производство гидродобычных установок (земснарядов) УГБ (установки гидродобычные Бабичева), предназначенных для:
- отработки обводнённых месторождений полезных ископаемых;
- доработки запасов на полную глубину залегания, оставшихся после разработки месторождения сухоройной техникой или традиционными земснарядами;
- углубления и очистки дна малых водоёмов и рек;
- намыва различных сооружений.
УГБ характеризуются своей прочной технически проверенной конструкцией, хорошей управляемостью и высокой производительностью (см. таблицу 1).
Таблица 1
В состав установки входят:
Грунтозаборный модуль, включающий в себя:
- портальную раму с установленной на ней лебедкой,
- добычной гидроэлеваторный снаряд с водоподводящим патрубком и вы-ходным пульпопроводом,
- насосный агрегат для подачи воды на гидроэлеваторный сна-ряд.
Грузоподъемное оборудование, служащее для спуска и подъёма гидроэлеваторного снаряда и включающее в себя раму портального типа с лебедкой.
Устройство папилъонажное, включающее в себя три ручных лебёдки, две из кото¬рых расположены на носовой и одна - на кормовой площадках, три отклоняющих блока, проводящих канаты к якорям.
Система технического (вспомогательного) водоснабжения, состоящая из вакуумного насоса и гибкого шланга и служащая для залива основного рабочего насоса.
Энергетическое оборудование, включающее:
- высоковольтное оборудование (ячейка ввода ЯКНО-6У1В-ЭР1, кабель 6 кВ по пульпопроводу КГЭ 3x50+1x16, ячейки управления эл. двигателем ЯКНО-6 с секцией сборных шин 6 кВ),
- оборудование на напряжение 220 В (щит распределительный 0,4 кВ напольный, пульт управления тумбовый, аппарат защиты от токов утечки АЗАК-2 контроля заземления изоляции; электрообогреватель ЭПО-3 ,1,6 кВт, 220В).
Система освещения:
- забоя (прожектора ПКН-1000 АУ1 1кВт),
- палубы (све¬тильники с люминесцентными лампами ДСП 16-2х40-003-УХЛ4 80 Вт),
- бортовые огни (светильники судовые наружного исполнения СС-328Е/1М 60 Вт),
- аварийное (аккумуля¬торные светильники 12 вх40 Вт; переносные, шахтные светильники СГД 5-1 исполнения РП с аккумуляторами ЗШНКЮ-0,5).
Система управления механизмами дистанционная с пульта рубки управления.
Соединение понтонов на болтах по бортовым и палубным поясам (материал - стальной лист и прокат по ГОСТ 5521-86).Напорный водовод изготовлен из труб, подает воду от насоса. Включает в себя: задвижку, колена, поворотный в вертикальной плоскости шарнир. Колена изготовлены из труб с переходом на шарнир.
Выходной пульпопровод изготовлен из труб, соединен посредством перехода и поворотного шарнира в вертикальной плоскости с палубным пульпопроводом.
Пульпопровод палубный состоит из трубопровода, поворотного вертикального шарнира, расположенного на кормовом мостике и соединяется с плавучим пульпопроводом.
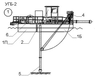
Разработанный и опробованный модельный ряд стандартных разборных земснарядов включает четыре базовых модели с механической мощностью от 250 до 630 кВт (см. рис. 1). Корпус установок отработки на определённой глубине монтируется из необходимого количества понтонов, на который устанавливается водяной насос с двигателем; боковые понтоны являются опорой портала с лебёдкой, управляющей добычным снарядом. На этих понтонах также смонтированы: кабина управления, палубный гидромонитор, 2 горизонтальных шарнира с подсоединенным к ним водоводом и пульповодом с длиной, обеспечивающей разработку подводных залежей на необходимую глубину и вспомогательные механизмы.
С 2001 и до декабря 2006 года накоплен достаточный опыт для оценки работоспособности новых установок.
Использование гидромониторной подрезки и обрушение больших массивов горных пород, расположенных в том числе выше уровня подземных вод, при гидроподъеме и гидротранспорте гидроэлеватором (который может всасывать практически обезвоженный материал), позволяет достичь показателя Т : Ж = 1:3 ? 1:5.
Подводное разрушение высоких уступов боковым забоем позволяет отрабатывать запасы практически полностью и получить очень высокую производительность. Важной особенностью этой технологии является то, что после отработки остается водоём и отработанная территория практически не нуждается в рекультивации (патент РФ на изобретение № 2180399 «Способ подводной добычи гравийно-песчаной смеси»).
При отработке песчано-гравийных смесей, залегающих ниже уровня подземных вод, и имеющих в связи с этим положительные температуры, достаточно легко организуется практически всесезонная эксплуатация добычного комплекса.
Опыт эксплуатации установки УГБ-2 в Подмосковье в зимние периоды 2001-2006 годов показал, что при минимуме остановок на срок не более 1 часа, добычной комплекс устойчиво работает при температуре до –35°С. В январе 2006 года комплекс УГБ-2М устойчиво работал при температуре –42°С. При более низких температурах, характерных для северных районов Российской Федерации, комплекс проходит консервацию: из оборудования и труб сливается вода и пульпа, выполняются регламентные ремонтные работы. При повышении температуры до –10–15° новый запуск не вызывает больших труд-ностей. Прогреваются нижние части корпусов насосов, образовавшийся в майне лёд легко разрушается потоком пульпы, направляемым вдоль борта.
Установки УГБ не имеют конкурентов в мировой практике, превосходя по срав-ниваемым характеристикам минимум в 2 раза любой земснаряд отечественного или им-портного производства.
Доработка оставленных в бывших и ныне действующих карьерах подводных запасов позволит на многие годы решить проблему снабжения промышленности сырьём без отчуждения новых территорий для этих целей и рекультивировать с образованием озёр и других водоёмов «лунный ландшафт», образованный в результате использования обычной техники и технологии добычи.
Наше предприятие также проводит обучение персонала для работы на данных установках и обеспечивает прохождение стажировки на находящихся в эксплуатации установках.
Рис.1 Схема расположения узлов основных моделей гидродобычных установок серии УГБ



Основные узлы установки:
- 1 - корпус, состоящий из набора серийных понтонов (боковых (Б) и поперечных (П);
- 2 - рубка управления;
- 3- портальная рама,
- 4 - грузоподъемная лебедка для спуско-подъемных операций,
- 5 - погружной гидроэлеваторный снаряд с подводным гидромонитором,
- 6 - насосный агрегат;
- 7* - напорный шарнирный водовод;
- 8* - напорный шарнирный пульпопровод,
- 9* - папильонажные лебедки с отклоняющими устройствами с ручным или электроприводом;
- 10* - вспомогательный вакуумный насос для заливки основного насоса;
- 11* - энергетическое оборудование;
- 12* - палубный гидромонитор.
Примечание. Позиции, помеченные *, на схемах не показаны.
Рис.2. Добыча ПГС в зимних условиях (работа майнообразователя)

© ООО «НПЦ «Геотехнология», 2006
| [0] комент. | | Добавить комментарий |
|
|
